Die Regeln für die Tolerierung und Messung im ISO GPS-System gelten grundsätztlich für starre Werkstücke. Damit ist gemeint, dass diese Teile sich nicht von selbst verformen, außer es werden zusätzlich Kräfte aufgebracht. Es wird also vorausgesetzt, dass Bauteile im unverbauten Zustand die selben geometrischen Eigenschaften besitzen, wie im späteren verbauten Zustand.
Allerdings gibt es Bauteile, die sich aufgrund ihres Eigengewichts oder fertigungsbedingt hervorgerufenen Eigenspannungen anders verhalten. Infolgedessen treten bei diesen Bauteilen zusätzliche Verformungen auf, die die Funktionstoleranzen überschreiten. Dennoch sind die Teile oft für ihre Funktion geeignet und halten die Funktionsgrenzen unter bestimmten Bedingungen (überwiegend durch die in der Montage eingebrachten Kräfte) ein. Bauteile, auf die dieses besondere Verhalten zutrifft, werden als nicht-formstabil bezeichnet. Dazu zählen zum Beispiel Kunststoffteile und dünne Bleche, für die also eine erweiterte Vorgehensweise zur Tolerierung und eine Unterscheidung vom verbauten zu unverbauten Zustand wesentlich ist.
In der Norm ISO 10579 aus dem Jahr 2010 ist definiert, dass sowohl der „freie“ als auch der „gefügte“ Zustand unterschieden und durch Toleranzen beschrieben werden können. Die Anwendung dieser Norm und die Zusatzbedingungen für den verbauten oder „gefügten“ Zustand sind durch die Eintragungen der Norm und der Zusatzbedingungen nahe dem Schriftfeld (siehe nachfolgendes Bild für ein Beispiel) festzulegen. Alternativ kann auch auf ein mitgeltendes Dokument verwiesen werden.

Zeichnungseintragung mit Verweis auf die ISO 10579
In der technischen Zeichnung wird entsprechend dieser Norm der „freie“ Zustand durch ein F im Kreis hinter der Toleranz im Toleranzindikator oder der Maßtoleranz gekennzeichnet. Damit gilt, dass alle Eintragungen ohne das F im Kreis unter Einhaltung der Zusatzbedingungen bewertet werden müssen. Zusatzbedingungen definieren beispielsweise Kräfte bei der Messung oder Verschraubungen mit dem Gegenstück, welches auch durch eine Vorrichtung abgebildet werden kann.
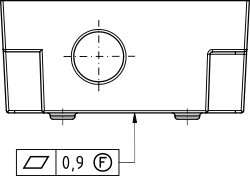
Im folgenden Bild ist die Fläche eines Bauteils mit einer Ebenheit im freien Zustand toleriert. Es ist zu erwarten, dass die mit der Eintragung versehene Fläche durch die Montage eine zusätzliche wesentliche Verformung bekommen wird. Die Bewertung im „freien“ Zustand bietet eine Möglichkeit, bereits vor der Montage die entstandenen Verformungen zu erkennen, um eine spätere Funktionserfüllung beurteilen zu können.

Eintragung von F im Kreis im Toleranzindikator am Bauteil
Die Erläuterungen zur Kennzeichnung von nicht-formstabilen Bauteilen ist ein Inhalt in unserem neuen Vertiefungskurs „Tolerierung von Kunststoffformteilen“.
P.S. Aktuell wird bereits an einer neuen Norm gearbeitet, die sich ebenfalls dieser Thematik widmet und weiterführende Festlegungen ermöglicht. Sobald diese Norm veröffentlicht ist, werden wir dazu Hinweise geben.